福特申请车载语音反馈系统专利 有助于用户直接反馈问题
更新时间:2024-10-29 20:34:46
浏览量:
文章作者:车圈引力波
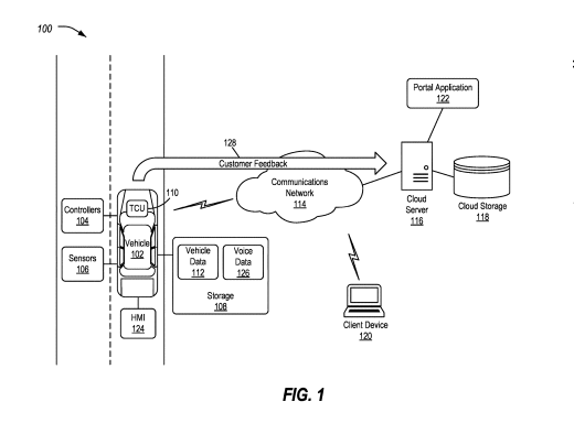
车圈引力波讯 车主们是否曾经对自己的汽车感到失望,甚至想对汽车设计师直接提出质疑?据外媒报道,福特汽车公司(Ford)申请了一项电子系统专利,该系统可以耐心地听取用户反馈,并将其以传统服务票据的形式传递给制造商,这些票据被整齐地分类并进行标记,以便于阅读。
据申请文件介绍,该过程将首先触发车辆信息娱乐菜单中的记录,或提示车主进行记录并发送反馈。换句话说,福特汽车所提出的系统,并不会秘密监听人们的正面或负面评论。
这些反馈将以语音和文本的形式存储,然后发送至云端,随后由两个算法进行处理。第一个算法会分析语言,试图“理解”用户的反馈;第二个算法进行分类,以便将其良好地显示给汽车制造商。
上一篇 : 智元机器人与Physical Intelligence(Pi
下一篇:法雷奥荣获2023金辑奖“中国汽车新供应链百强”及 “最佳低


